|
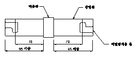
나. 강관조인트의 변위 및 인장시험은 그림 8과 같이 심금 E, 삽입핀 및 강관 A를 사용하여 이탈방지 기능을 작동한 상태의 강관조인트를 시험기에 부착시킨 후 인장력을 가하여 하중이 9,000 N일 때에 변위측정기를 이용하여 강관조인트의 변위량을 측정하고 계속 인장력을 가하여 인장하중의 최대값을 측정한다. (이 경우, 재하 속도는 분당 8㎜ 이하로 한다)
단위 : ㎜
 비고 : 삽입핀의 삽입구멍의 지름 16㎜로 한다.
[그림 8] 강관조인트의 변위 및 인장시험
다. 강관조인트의 압축시험은 그림 9와 같이 심금 C, 나이프에지 및 나이프에지 패드와 강관 A를 사용하여 이탈방지 기능을 작동한 상태의 강관조인트를 상·하의 가압판 중심에 일치시킨 후 시험기 가압판으로 압축하여 하중의 최대값을 측정한다. (이 경우, 재하 속도는 분당 8㎜ 이하로 한다)
단위 : ㎜
[그림 9] 강관조인트의 압축시험
라. 이 시험에 사용하는 심금 C 및 심금 E, 나이프에지 및 나이프에지 패드, 삽입핀, 가압재 B와 강관 A는 각각 별표 24 제3호, 제4호, 제9호, 제16호 및 제17호의 규정에 따른다. |