7-4. 아웃트리거

1) 재료

아웃트리거의 재질은 표 5의 규정에 적합하거나 이와 동등 이상의 기계적 성질을 가진 것을 사용하여야 한다.

<표 5> 아웃트리거의 재료

구성 부분

재         질

수직재, 수평재, 경사재, 보강재, 삽입관

 KS D 3566에 규정하는 STK400

부착철물

 KS D 3501에 규정하는 SPHD 또는
 KS D 3503에 규정하는 SS 330

2) 구조

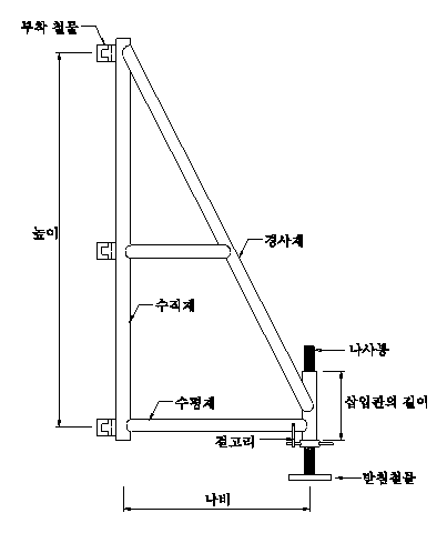
아웃트리거 는 그림 5와 같이 수평재, 수직재, 경사재,보강재, 삽입관,받침 철물 및 2개 이상의 부착철물로 구성되며 다음 각 호의 규정에 적합하여야 한다.

a) 아웃트리거의 나비(수직재와 삽입관의 중심 간 거리)는 600㎜ 이상이어야 한다.

b) 아웃트리거의 높이(수직재 중심선에서 교차되는 수평재와 경사재 부재 중심선 사이의 거리)는 나비의 2배 이상이어야 한다.

c) 수직재, 수평재, 경사재, 보강재 및 삽입관은 바깥지름은 (42.7±0.25)㎜이어야 한다.

d) 부착 철물은 주틀의 기둥재에 체결되는 구조이어야 한다. 볼트 체결인 경우, 볼트의 지름은 나사산을 포함하여 9.0㎜ 이상이어야 한다.

e) 받침철물은 KS F 8014의 조절형 받침철물에 적합하여야 한다.

f) 삽입관의 길이는 200㎜ 이상이어야 한다.

[그림 5] 아웃트리거

3) 성능

아웃트리거의 성능은 표 5와 같다.

<표 5> 아웃트리거의 성능

항   목

성   능

최대 하중 (kN)

16 이상

수직처짐량 (㎜)

10 이하

4) 시험

아웃트리거의 시험 그림 11과 같이 부착틀에 아웃트리거를 부착시켜 삽입관의 중앙을 가력하여 하중(P)이 4,900N 일때 수직 처짐량을 측정한 후 계속 가력하여 하중의 최대값을 측정한다. 이때 부착철물의 볼트 조임은 34.3kN·㎜로 하며, 평균 재하 속도는 (8±0.1)mm/min 이하이어야 한다.

[그림 11] 아웃트리거의 변위량 및 하중시험