9-2. 철골용 클램프

1) 재료

가. 철골용 클램프의 재료는 표 4의 규정에 적합하거나 이와 동등 이상의 기계적 성질을 가진 것을 사용해야 한다.

<표 4> 철골용 클램프의 재료

구성 부분

재         질

착부

본    체

 KS D 3503(일반구조용 압연강재)의 SS330

누름볼트

 KS D 3503(일반구조용 압연강재)의 SS330

긴결부

본체 및 덮개

 KS D 3501(열간압연 연강판 및 강대)의 SPHD

볼트, 너트, 핀

 KS D 3503(일반구조용 압연강재)의 SS330

접합용 볼트 및 리벳 등

 KS D 3503(일반구조용 압연강재)의 SS330

나. 철골용 클램프의 각 부는 현저한 손상, 변형 및 부식 등이 없어야 한다.

2) 구조

가. 철골용 클램프는 그림 4와 같이 부착부, 긴결부 및 접합부 볼트 또는 리벳 등으로 구성된다.

[그림 4] 철골용 클램프의 각 부 명칭

나. 부착부는 다음 각 세목과 같이 한다.

1) 사용 중 이탈되지 않는 구조일 것

2) 누름 볼트 나사의 지름은 나사산을 포함하여 11㎜ 이상이어야 하며, 나사의 설치 위치는 그림 5와 같이 A는 11㎜ 이상, B는 18㎜ 이상일 것

[그림 5] 누름나사 위치

다. 긴결부가 클램프형식인 철골용 클램프는 다음과 같이 한다.

1) 본체 및 뚜껑의 두께는 3.0㎜ 이상일 것

2) 볼트의 나사부 지름은 나사산을 포함하여 9.0㎜ 이상일 것

라. 부착부와 긴결부의 접합은 용접, 볼트 또는 리벳 등의 방법으로 해야 한다.

3) 성능

철골용 클램프의 시험성능기준은 표 5와 같이한다.

<표 5> 철골용 클램프의 시험성능기준

항   목

시험성능기준

부착부 미끄러짐 시험

직교형

인장 강도

7,000N 이상

평행형

부착부 인장시험

직교형

인장 강도

10,000N 이상

15,000N 이상

평행형

비고 : 겸용형은 직교형 및 평행형의 사용 조건에 따라 최대 하중을 적용할 것

4) 시험

철골용 클램프의 시험은 다음 각 목과 같이 따른다.

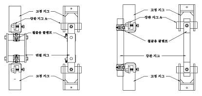
가. 철골용 클램프 부착부의 미끄러짐 시험은 종류에 따라 직교형은 그림 7의 가)와 같이 고정지그, 강판지그 A 및 연결지그를 평행형은 그림 7의 나)와 같이 고정지그, 강판지그 A 및 강관지그를 사용하여 각각 2개의 철골용 클램프 한조를 시험기에 설치하고 인장 하중을 가하여 부착부가 미끄러졌을 때 하중의 최대값을 측정하고 겸용형은 직교형 및 평행형의 사용 조건에 따라 최대 하중을 측정한다.(이 경우, 부착부 및 긴결부의 볼트 조임은 45,000N·㎜로 하고 재하 속도는 분당 8㎜ 이하로 한다)

가) 직교형                      나) 평행형

[그림 7] 철골용 클램프 부착부의 미끄러짐 시험

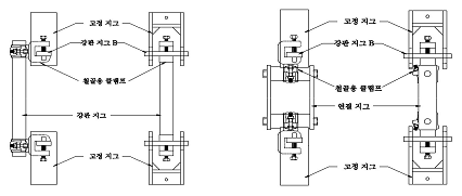
나. 철골용 클램프 부착부의 인장시험은 종류에 따라 직교형은 그림 8의 가)와 같이 고정지그, 강판지그 B 및 강관지그를 평행형은 그림 8의 나)와 같이 고정지그, 강판지그 B 및 연결지그를 사용하여 각각 2개의 철골용 클램프 한조를 시험기에 설치하고 인장하중을 가하여 하중의 최대값을 측정하며 겸용형은 직교형 및 평행형의 사용 조건에 따라 최대 하중을 측정한다.(이 경우, 부착부 및 긴결부의 볼트 조임은 45,000N·㎜로 하고 재하 속도는 분당 8㎜ 이하로 한다)

가) 직교형                   나) 평행형

[그림 8] 철골용 클램프 부착부의 인장시험

 

다. 이 시험에 사용하는 고정지그, 강판지그 A, 강판지그 B, 연결지그 및 강관지그는 다음과 같이 한다.

1) 고정지그의 재료는 KS D 3503(일반구조용 압연강재)의 SS400에 적합한 강재로서 그림 9와 같은 치수일 것

단위 : ㎜

[그림 9] 고정지그

2) 강판지그 A 및 강판지그 B의 재료는 KS D 3503(일반구조용 압연강재)의 SS400에 적합한 강재로서 그림 10과 같은 치수일 것

단위 : ㎜

[그림 10] 강판지그

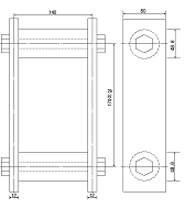
3) 연결지그의 재료는 KS D 3503(일반구조용 압연강재)의 SS400에 적합한 강재로서 그림 11과 같은 치수일 것

단위 : ㎜

[그림 11] 연결지그

4) 강관지그의 재료는 KS D 3503(일반구조용 압연강재)의 SS400에 적합한 강재로서 그림 12와 같은 치수일 것

단위 : ㎜

[그림 12] 강관지그